Цена по запросу
| Назначение и применение | Клапан запорный (15нж52нж) фланцевый применяется в качестве запорного устройства на трубопроводах газообразных и жидких сред и на технологических линиях по транспортировке воды и пара. |
|---|---|
| Направление подачи рабочей среды | Одностороннее |
| Рабочая среда | Вода, пар, нефтепродукты, среды с содержанием сероводорода до 6%. |
| Класс герметичности по ГОСТ 9544-2015 | А |
| Климатическое исполнение | УХЛ1 |
| Способ управления | Ручное. Управление клапаном происходит за счет вращения маховика и перемещения шпинделя внутри корпуса до упора с ответной поверхностью. |
| Покрытие * | Отличительная окраска по ГОСТ 4666-2015. * Допускается применять иное покрытие по требованию заказчика. |
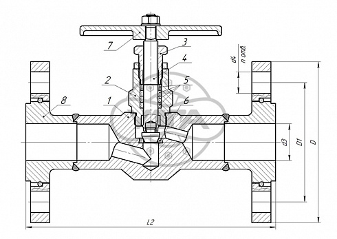
Материальное исполнение основных деталей
| Обозначение | 15нж52нж | ||
|---|---|---|---|
| Температура рабочей среды | От -60°С до 425°С | ||
| Климатическое исполнение | УХЛ1 | ||
| Наименование | Нержавеющая сталь | ||
| 1 | Корпус | 12Х18Н10Т; 08Х18Н10Т; | 10Х17Н13М2Т |
| 2 | Бугель | 12Х18Н10Т | 10Х17Н13М2Т |
| 3 | Втулка | 09Г2С+цинк | |
| 4 | Шпиндель | 14Х17Н2 | 10Х17Н13М2Т |
| 5 | Уплотнение | ТРГ | |
| 6 | Седло | - | |
| 7 | Ручка | Ст. 3 | |
| 8 | Фланец | 12Х18Н10Т | 10Х17Н13М2Т |
Размеры клапанов фланцевого исполнения
| Dn, мм | Pn, кгс/см² | d3, мм | D, мм | D1, мм | d4, мм | n отв | L2, мм | Масса, кг |
|---|---|---|---|---|---|---|---|---|
| 50 | 16 | 49 | 160 | 125 | 18 | 4 | 210 | 11,2 |
*Допускается изготовление из материалов и строительных размеров, не приведенных в таблицах, по согласованию.
